قدرة تحمل حمولة كبيرة؛
مجاري الحلقات الداخلية مائلة بزاوية بالنسبة لمحور المحمل؛
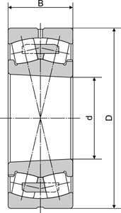
|
أبعاد الحدود | د | 280 | مم | |||
| د | 500 | مم | |||||
| ب | 176 | مم | |||||
| معدلات التحميل الأساسية | Cr | 2470 | كيلو نيوتن | ||||
| ج 0 ر | 4550 | كيلو نيوتن | |||||
| تصنيفات السرعة | شحم | 600 | دورة في الدقيقة | ||||
| زيت | 670 | دورة في الدقيقة | |||||
| وزن | 152 | كجم | |||||